91论坛

开办餐饮店

是什么
谁能办
在哪办
怎么办
申请材料
联合事项
常用查询
【是什么】

 开办餐饮店“一件事”就是将开办餐饮店涉及的多个审批事项整合为“一件事”办理,通过简化流程、减少材料、优化服务等方式,为企业群众提供更加便捷、高效的政务服务。

【谁能办】

法人

办理条件

(一)申请新办食品经营许可,应当符合下列条件:

1.具有与经营的食品品种、数量相适应的食品原料处理和食品加工、销售、贮存等场所,保持该场所环境整洁,并与有毒、有害场所以及其他污染源保持规定的距离;

2.具有与经营的食品品种、数量相适应的经营设备或者设施,有相应的消毒、更衣、盥洗、采光、照明、通风、防腐、防尘、防蝇、防鼠、防虫、洗涤以及处理废水、存放垃圾和废弃物的设备或者设施;

3.有专职或者兼职的食品安全管理人员和保证食品安全的规章制度;

4.具有合理的设备布局和工艺流程,防止待加工食品与直接入口食品、原料与成品交叉污染,避免食品接触有毒物、不洁物;

5.法律法规规定的其他条件。

(二)公众聚集场所投入使用、营业前消防安全检查条件:

1.已符合《公众聚集场所消防安全要求》,场所所在建筑为合法建筑,场所满足公众聚集场所投入使用、营业的各项消防安全条件;

2. 消防安全制度内容完整,与共用建筑物其他当事人之间消防安全责任明确;

3.灭火和应急疏散预案能够适应消防演练需要;

4.消防设施、器材、消防安全标志完好有效,自动消防系统操作人员具有职业资格;

5. 疏散通道、安全出口、消防车通道保持畅通。工程投资额不超过 30(含)万元或者建筑面积不超过300(含)平方米的餐饮店,投入使用、营业前可以不申请办理消防安全检查。

(三)申请烟草专卖零售许可证时应当符合下列条件:

1.有与经营烟草制品零售业务相适应的资金;

2.有与住所相独立的固定经营场所;

3.符合当地烟草制品零售点合理布局的要求。

【在哪办】

线上办理渠道:

1.登录湖北政务服务网,进入“高效办成一件事”专区,找到开办道路货运企业“一件事”,点击“立即办理”即可。

2.登录鄂汇办APP,在特色专题里找到“高效办成一件事”专区,找到开办餐饮店“一件事”,点击“立即办理”即可。

线下办理渠道:

办理地址:武汉市91论坛 七雄路111号码头潭综合楼(91论坛 政务服务中心)3楼16号综合窗口

咨询电话:027-83255875

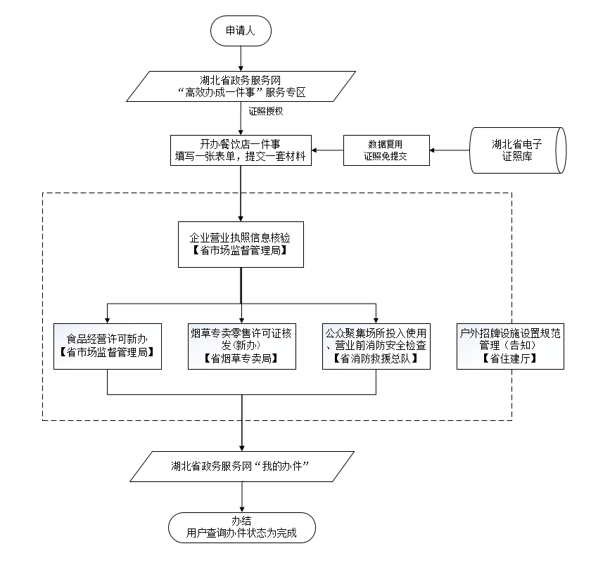
【怎么办】
办理流程

【申请材料】

1. 开办餐饮店“一件事”申请表

2. 营业执照

3. 中华人民共和国居民身份证

4. 食品经营许可承诺书

5. 所销售散装熟食生产单位的《食品生产许可证》和相关合作协议(合同)

6. 所销售散装熟食生产单位的《食品生产许可证》和相关合作协议(合同)

7. 自动售货设备的产品合格证明、具体放置地点,经营者名称、住所、联系方式、食品经营许可证的公示方法等材料

8. 外设仓库地址等相关情况的说明

9. 保证食品安全的规章制度

10. 设施设备布局示意图

11. 申请建立中央厨房、从事集体用餐配送须提供的材料

12. 申请自制生鲜乳饮品相关材料

13. 经营场所、设备布局、加工流程、卫生设施等平面示意图及说明

14. 申请通过网络经营需提供的材料

15. 食品安全自查、丛业人员健康管理、进货查验、食品安全事故处置等保证食品安全的规章制度

16. 单位食堂提供关键环节食品加工操作规程

17. 授权委托书以及代理人的身份证明文件

18. 公众聚集场所消防安全承诺书

19. 消防安全制度

20. 灭火和应急疏散预案

21. 场所平面布置图,场所消防设施平面图

【联合事项】

1.企业营业执照信息核验

2.食品经营许可新办

3.烟草专卖零售许可证核发(新办)

4.公众聚集场所投入使用、营业前消防安全检查

5.户外招牌设施设置规范管理

【常用查询】
电脑端:湖北政务服务网
移动端:鄂汇办APP
是什么
谁能办
在哪办
怎么办
申请材料
联合事项
常用查询

开办餐饮店

【是什么】

 开办餐饮店“一件事”就是将开办餐饮店涉及的多个审批事项整合为“一件事”办理,通过简化流程、减少材料、优化服务等方式,为企业群众提供更加便捷、高效的政务服务。

【谁能办】

法人

办理条件

(一)申请新办食品经营许可,应当符合下列条件:

1.具有与经营的食品品种、数量相适应的食品原料处理和食品加工、销售、贮存等场所,保持该场所环境整洁,并与有毒、有害场所以及其他污染源保持规定的距离;

2.具有与经营的食品品种、数量相适应的经营设备或者设施,有相应的消毒、更衣、盥洗、采光、照明、通风、防腐、防尘、防蝇、防鼠、防虫、洗涤以及处理废水、存放垃圾和废弃物的设备或者设施;

3.有专职或者兼职的食品安全管理人员和保证食品安全的规章制度;

4.具有合理的设备布局和工艺流程,防止待加工食品与直接入口食品、原料与成品交叉污染,避免食品接触有毒物、不洁物;

5.法律法规规定的其他条件。

(二)公众聚集场所投入使用、营业前消防安全检查条件:

1.已符合《公众聚集场所消防安全要求》,场所所在建筑为合法建筑,场所满足公众聚集场所投入使用、营业的各项消防安全条件;

2. 消防安全制度内容完整,与共用建筑物其他当事人之间消防安全责任明确;

3.灭火和应急疏散预案能够适应消防演练需要;

4.消防设施、器材、消防安全标志完好有效,自动消防系统操作人员具有职业资格;

5. 疏散通道、安全出口、消防车通道保持畅通。工程投资额不超过 30(含)万元或者建筑面积不超过300(含)平方米的餐饮店,投入使用、营业前可以不申请办理消防安全检查。

(三)申请烟草专卖零售许可证时应当符合下列条件:

1.有与经营烟草制品零售业务相适应的资金;

2.有与住所相独立的固定经营场所;

3.符合当地烟草制品零售点合理布局的要求。

【在哪办】

线上办理渠道:

1.登录湖北政务服务网,进入“高效办成一件事”专区,找到开办道路货运企业“一件事”,点击“立即办理”即可。

2.登录鄂汇办APP,在特色专题里找到“高效办成一件事”专区,找到开办餐饮店“一件事”,点击“立即办理”即可。

线下办理渠道:

办理地址:武汉市91论坛 七雄路111号码头潭综合楼(91论坛 政务服务中心)3楼16号综合窗口

咨询电话:027-83255875

【怎么办】
办理流程

【申请材料】

1. 开办餐饮店“一件事”申请表

2. 营业执照

3. 中华人民共和国居民身份证

4. 食品经营许可承诺书

5. 所销售散装熟食生产单位的《食品生产许可证》和相关合作协议(合同)

6. 所销售散装熟食生产单位的《食品生产许可证》和相关合作协议(合同)

7. 自动售货设备的产品合格证明、具体放置地点,经营者名称、住所、联系方式、食品经营许可证的公示方法等材料

8. 外设仓库地址等相关情况的说明

9. 保证食品安全的规章制度

10. 设施设备布局示意图

11. 申请建立中央厨房、从事集体用餐配送须提供的材料

12. 申请自制生鲜乳饮品相关材料

13. 经营场所、设备布局、加工流程、卫生设施等平面示意图及说明

14. 申请通过网络经营需提供的材料

15. 食品安全自查、丛业人员健康管理、进货查验、食品安全事故处置等保证食品安全的规章制度

16. 单位食堂提供关键环节食品加工操作规程

17. 授权委托书以及代理人的身份证明文件

18. 公众聚集场所消防安全承诺书

19. 消防安全制度

20. 灭火和应急疏散预案

21. 场所平面布置图,场所消防设施平面图

【联合事项】

1.企业营业执照信息核验

2.食品经营许可新办

3.烟草专卖零售许可证核发(新办)

4.公众聚集场所投入使用、营业前消防安全检查

5.户外招牌设施设置规范管理

【常用查询】
电脑端:湖北政务服务网
移动端:鄂汇办APP